Rumor: Is Panasonic working on a sucessor to the GF1?

pana_43So what’s the deal? Is Panasonic working on a new camera? The short version is yes. The long version is a little more complicated.

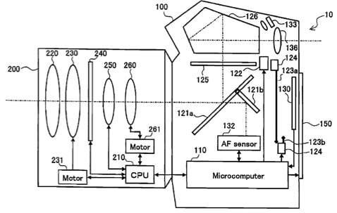
Micro Four Thirds cameras are hot right now. Between Pano’s G1 and the Olympus E-P2, it’s just crazy how fast this style is selling. The new, unnamed Panasonic camera goes in a slightly different direction; a FourThirds camera – NOT another MicroFourThirds. We’re going to call this one a rumor because it’s coming to us from a patent filing, and not from any particular source. This means that Panasonic is going to be announcing a DSLR style camera with Live-View, a mirror and prism system, and an interchangeable lens mount. What you are losing however, is image stabilization, and video recording. The real questions are going to be how much, and when, but for now we’ll just have to be happy with the technical drawings.

[via 4/3rumors]

Topics

, , , , ,
Loading the next article
Error loading the next article