New Canons to have optical and electronic viewfinders?

dualview
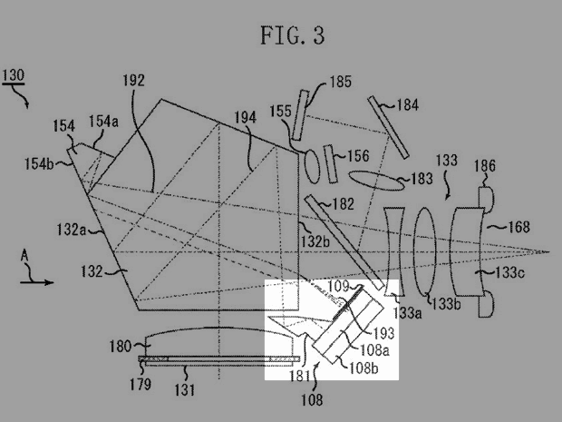
If Canon can pull this off, it’ll be a real coup. A recent patent shows a method for embedding an electronic image inside the viewfinder, while still retaining the pentaprism mechanism for bona-fide direct optical viewing. The layout they show is probably simplified and spaced out a bit for the sake of clarity, but the general idea is that you’d have the EVF above the optical VF, mainly for shot review without having to take your eye away from the camera.

I’m not sure whether I would prefer they just work on making the optical VF bigger and clearer — I think this is a feature you have to use for a while before you can truly pass judgment on it. Unlike, say, a second LCD on the front of the camera, which was doomed from the start.

Canon-Dual-Viewfinder

Also, how cool does this sound, just to read out loud:

The composite signal generated by the signal processing circuit is output to the liquid crystal display device of the finder apparatus. The liquid crystal display device displays an electronic subject image. The liquid crystal display device is positioned between the pentagonal prism and the eyepiece lens.

It sounds like it’s from the future!

Anyhow, there’s a more detailed breakdown over at Photography Bay. It’s a pro feature to be sure, but if they can get their foot in the door with this, it might be a true “Canon-only” feature, a hard thing to come by these days.

Techcrunch event

Join 10k+ tech and VC leaders for growth and connections at Disrupt 2025

Netflix, Box, a16z, ElevenLabs, Wayve, Hugging Face, Elad Gil, Vinod Khosla — just some of the 250+ heavy hitters leading 200+ sessions designed to deliver the insights that fuel startup growth and sharpen your edge. Don’t miss the 20th anniversary of TechCrunch, and a chance to learn from the top voices in tech. Grab your ticket before doors open to save up to $444.

Join 10k+ tech and VC leaders for growth and connections at Disrupt 2025

Netflix, Box, a16z, ElevenLabs, Wayve, Hugging Face, Elad Gil, Vinod Khosla — just some of the 250+ heavy hitters leading 200+ sessions designed to deliver the insights that fuel startup growth and sharpen your edge. Don’t miss a chance to learn from the top voices in tech. Grab your ticket before doors open to save up to $444.

San Francisco | October 27-29, 2025

Topics

, , ,
Loading the next article
Error loading the next article