Boeing Patents Quiet Cabin Technology With Unconventional Design

There hasn’t been a radical change in commercial jet design since the first De Havilland Comet flew in 1949. It has always been wing-on-tube in favor of the integrated wing/tube like the B-2 bomber.However, Boeing was recently granted some patents on a number of radical design changes that look to quiet the skies for both passengers and listeners on the ground, creating a different looking aircraft.

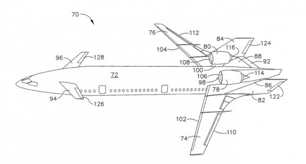
The main concept comes from the need to shield an aircraft’s engines by placing them above the wing or even higher above the fuselage. By mounting the engines either on top of the wings or fuselage allows for a sound buffer between the engine and ground. The design also uses vertical stabilizers placed on both sides of the engines to further reduce noise.

It all looks exciting, but let’s not forget that a patent filing doesn’t necessarily mean anything, at least not soon. Boeing could just be creating patents as a way to own the idea should increasing noise restrictions be applied at airports.

Topics

, , , ,
Loading the next article
Error loading the next article