New Apple Patent Describes Kinect-Style Control System

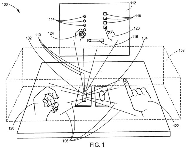
I realize that patent speak is super verbose for a reason, as those applying want every little nook and cranny of their technology/invention protected. But… well, just look at this: “A three-dimensional imaging and display system is provided in which user input is optically detected in an imaging volume by measuring the path length of an amplitude modulated scanning beam as a function of the phase shift thereof. Visual image user feedback concerning the detected user input is presented.”

That’s the abstract for a new Apple patent application titled “three-dimensional imaging and display system”. If you can detect from that jumble of words why this patent application is important, you get five gold stars. No? OK, I’ll tell you.

It’s basically Apple’s version of the Kinect, offering up 3D touch-free controls for manipulation of the user interface on what could be your Mac, iPad or iPhone. While much more limited than Microsoft’s Kinect, the Apple patent describes an apparatus containing a high-speed infrared laser and a high-speed photo detector. The laser creates a “volume” of space, from which any movement can be detected.

This would allow for users to use movement-based gestures to control the interface on their iThing.

Of course, this is probably one of many patent applications related to Apple’s new 3D control system. Filed for back in August, it’s very likely that Apple is actually doing some hardcore work on this and we may see more similar patents hit the U.S. Patent Office database in the coming months.

[via SlashGear]

Techcrunch event

Join 10k+ tech and VC leaders for growth and connections at Disrupt 2025

Netflix, Box, a16z, ElevenLabs, Wayve, Hugging Face, Elad Gil, Vinod Khosla — just some of the 250+ heavy hitters leading 200+ sessions designed to deliver the insights that fuel startup growth and sharpen your edge. Don’t miss the 20th anniversary of TechCrunch, and a chance to learn from the top voices in tech. Grab your ticket before doors open to save up to $444.

Join 10k+ tech and VC leaders for growth and connections at Disrupt 2025

Netflix, Box, a16z, ElevenLabs, Wayve, Hugging Face, Elad Gil, Vinod Khosla — just some of the 250+ heavy hitters leading 200+ sessions designed to deliver the insights that fuel startup growth and sharpen your edge. Don’t miss a chance to learn from the top voices in tech. Grab your ticket before doors open to save up to $444.

San Francisco | October 27-29, 2025

Topics

, ,
Loading the next article
Error loading the next article