Sony’s Gamer-Friendly Xperia Play Could Have Had A Real QWERTY Keyboard Too

Sony’s Android-powered Xperia Play debuted to mixed reviews last year, but according to a newly published patent, Sony was apparently toying with the idea of making something much more interesting before settling on the design they ran with.

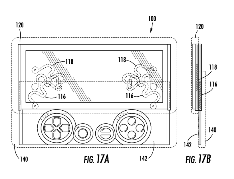
Not content with a single physical keypad meant strictly for gaming, the images associated with the patent depict a Sony smartphone with two of them — one with the game controls we’ve become familiar with, and another with a full QWERTY keyboard that would slide down over the game pad.

The company first filed for the patent back in October 2010 (back when they were still Sony Ericsson), just days before Engadget first published their spy shots of what we now know as the Xperia Play. There’s no way of knowing how close a device like this got to actual production, but I’d wager it didn’t last too long before Sony Ericsson’s design and production team passed it over because of the problems it could potentially raise.

On a basic level, more moving parts means more things that could potentially break, but there’s an even more pressing issue than that. Practically speaking, this thing would’ve been a chubby little beast — the Xperia Play isn’t a particularly thin device as it is, so who knows how hefty a device with two slide-out keyboards would have been had it ever seen the light of day.

Still, I can’t help but love the concept — though developers are crafting amazing experiences that are well-suited for touchscreens, some games just work better when a physical control scheme is part of the mix (anyone who’s tried playing the recently released Marvel vs. Capcom 2 on their iPhone would probably agree with me). The chances of Sony Mobile bringing a device like this to market aren’t nil though — after all, they already seem set on delivering phones with some wacky features.

Topics

, , ,
Loading the next article
Error loading the next article