Motorola’s New Patent Lawsuit Against Apple: The Details

On Friday, Google’s Motorola Mobility filed a new lawsuit against Apple with the U.S. International Trade Commission (ITC) in Washington, seeking to ban the imports of virtually every Apple product into the U.S. At the time, the details of the filing weren’t public yet, but the ITC has now posted the full complaint online and we can finally get a better idea of the patents Apple allegedly violated. According to the complaint (embedded below), Motorola argues that Apple infringed upon seven Motorola patents: 5,883,580, 5,922,047, 6,425,002, 6,983,370, 6,493,673, 7,007,064 and 7,383,983.

As expected, the lawsuit targets Apple’s iPod Touch, the iPhone 3GS, 4 and 4S, the iPad 2 and the “new” iPad, as well as the Mac Pro, iMac, Mac mini, MacBook Pro and MacBook Air and all other Apple devices “which utilize wireless communication technologies to manage various messages and content.” In the complaint, Motorola also argues that Apple was fully aware of a number of these patents.

Motorola is requesting a target date of no more than 15 months from now, so we will likely hear quite a bit more about the proceedings in the coming year.

Here is a quick rundown of the patents involved in this lawsuit:

  • 5,883,580: “The ‘580 Patent generally relates to messaging devices that process messages logically for a user in the context of space and time.” From the abstract: “This invention relates in general to selective call messaging devices and more specifically to messaging devices that process messages logically for a user in the context of space and time .” The target here seems to be Apple’s location reminders and Motorola specifically argues that the iPhone 4 and 4S infringe upon this patent.
  • 5,922,047: “The ‘047 Patent generally relates to communications and control systems for multimedia.” From the abstract: “In the preferred embodiment the multimedia control apparatus provides for control over a plurality of media applications including telephony, video conferencing, analog video, digital video, and AC power line signaling (for control over premise or subscriber equipment such as HVAC lighting security and entertainment).” Every iPhone and iPad currently in the market infringes upon this patent according to Motorola.
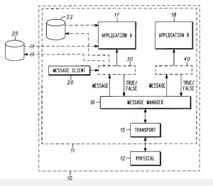
  • 6,425,002: “The ‘002 Patent generally relates to communications devices that ensure applications installed therein only receive messages that are of interest.” From the abstract: “A communications device with a processor having instructions that execute on the processor. The programmed instructions include a message manager program for accepting and dispatching messages, one or more application programs for handling and presenting messages; and one or more message client programs that receive messages from the message manager program and provides them to the application program. The message manager program accepts a registration from each message client program and sets rules, and message attributes to which the rules are to be applied for new messages.”
  • 6,983,370: “The ‘370 Patent generally relates to communication systems incorporating capabilities to provide continuity between messaging clients. More specifically, the ‘370 Patent relates to the ability to sync the messaging capabilities of multiple devices.” Unsurprisingly, given that this patent is about syncing, Motorola alleges that every Apple device in the market right now, with the exception of the iPod line and Apple TV, infringes upon this patent.
  • 6,493,673: “The ‘673 Patent generally relates to communications devices that are capable of providing interactive services. The patent discloses, inter alia, providing prompt element including an announcement to be read to a user, and an input element that allows an audible user input to be converted into text string.” From the abstract: “The present invention relates to a markup language document stored on a computer-readable medium to provide interactive services and methods thereof. The markup language comprises a dialog element and a step element. The dialog element includes markup language elements in which each markup language element is identifiable by one or more markup tags. The step element is contained within the dialog element and defines a state within the dialog element. The step element includes a prompt element, an input element, and a first attribute. The prompt element includes an announcement to be read to the user, and the input element includes an attribute to allow an audible user input to be converted to a text string.”
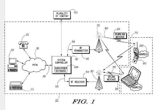
  • 7,007,064: “The ‘064 Patent generally relates to wireless communications systems for providing content to wireless communications devices. In particular, the ‘064 Patent discloses, inter alia, an apparatus and method for obtaining and managing wirelessly communicated content.”
  • 7,383,983: “The ‘983 Patent generally relates to managing content between devices in various domains and, more particularly, to a system and method for pausing content in one device and resuming playback of the content in another device that may be in a different domain.”

Motorola’s New Apple Complaint

Topics

, , , , ,
Loading the next article
Error loading the next article