Apple’s Siri, Google’s Voice Recognition Technology Targeted By Patent Troll

A company that has acquired 100% ownership of a patent for an off-site transcription system — United States Patent 6,298,326 — in order to, in its words, “effectively administer certain patents for technology”, says it will be seeking residual royalties from Apple, for its Siri voice assistant, and Google, for the Voice Recognition technology in its Android 4.1 release, along with “many other software and hardware providers that have adopted systems similar to the patent”.

We’ve reached out to Apple and Google for a reaction to the patent claim and will update if we hear back.

The company is a non-practicing entity –– or ‘patent troll’ to use a more pejorative term — called Accredited Transcription Corp (ATC). It said it will be sending cease and desist letters to Apple, Google and other technology companies it believes to be infringing its patent within the next 30 days. ATC wants the companies to either pay royalties, license the technology or stop using the systems it claims infringe its patent — and said it will litigate to protect its claim if necessary.

Prior to today’s announcement ATC had acquired 66.6% ownership of the patent in question. Today, it acquired the remaining 33.4% of the patent.

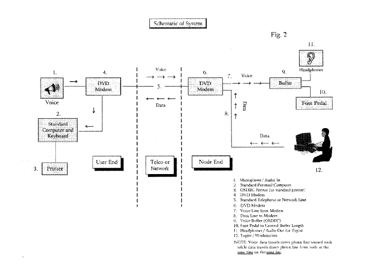
According to ATC, the patent in question concerns an invention whereby a user speaks into a device, the voice is transmitted to a central data processing facility where sounds are converted into text and returned to the device.

“ATC believes that these procedures clearly infringe on the patent and that those who misuse its technology must either license it, pay royalties, or cease using the products. If royalties cannot be achieved through negotiations, ATC will initiate litigation and seek injunctions against those who infringe on the patent,” it said in a statement.

Techcrunch event

Join 10k+ tech and VC leaders for growth and connections at Disrupt 2025

Netflix, Box, a16z, ElevenLabs, Wayve, Hugging Face, Elad Gil, Vinod Khosla — just some of the 250+ heavy hitters leading 200+ sessions designed to deliver the insights that fuel startup growth and sharpen your edge. Don’t miss the 20th anniversary of TechCrunch, and a chance to learn from the top voices in tech. Grab your ticket before doors open to save up to $444.

Join 10k+ tech and VC leaders for growth and connections at Disrupt 2025

Netflix, Box, a16z, ElevenLabs, Wayve, Hugging Face, Elad Gil, Vinod Khosla — just some of the 250+ heavy hitters leading 200+ sessions designed to deliver the insights that fuel startup growth and sharpen your edge. Don’t miss a chance to learn from the top voices in tech. Grab your ticket before doors open to save up to $444.

San Francisco | October 27-29, 2025

“ATC recognizes that its patent provides a technology that benefits the public, so it remains amenable to work with companies such as Google and Apple as long as it receives proper royalties on each of their units sold that use the patented technology,” the company added.

ATC describes itself as “an entity formed for the purpose of establishing digital transcription technologies owned by a consortium of enterprises”. It was formed in Pennsylvania in 2011. Another company —  Accredited Business Consolidators Corp, which owns 15% of ATC’s stock — is managing and overseeing the patent prosecution program. Other members of the consortium include Pennsylvania Patent Prosecution Corporation, Dave’s Holding Company and Uno Dos Tres, Inc. A spokesman for ATC added that “other shareholders of ATC have not authorized us to release information”.

Update: ATC has confirmed it believes Samsung’s voice recognition software also violates its patent. “We believe that Samsung’s S-Voice Assistant violates the patent that was assigned to us because it transmits the voice to an off-site server for conversion into text,” a company spokesman told TechCrunch.

Topics

,
Loading the next article
Error loading the next article