Apple Patents Battery-Saving Multi-Touch Displays That Don’t Need To Be Active To Work

Apple was granted a patent Tuesday by the USPTO (via AppleInsider) that describes a system for implementing multi-touch in a mobile device even when there the display itself isn’t actively showing any images. It’s a neat trick, and one that could help portable gadgets save battery life by not invoking the most battery-hungry element in their construction nearly as frequently.

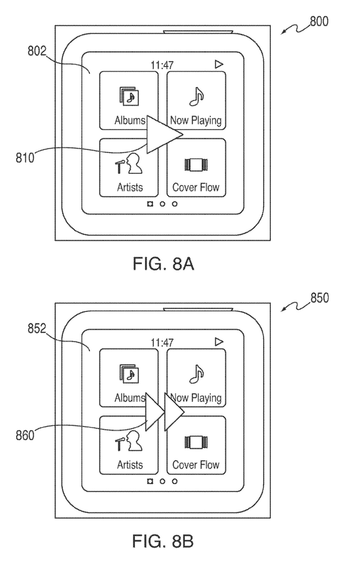
The patent also notes that the screen doesn’t have to be off for these no-look commands to work; a user could do things like swipe a finger in circle to change volume or tracks, for instance, even while a display is active. That adds new control options, but also makes it possible to both remove external buttons should a design benefit from that, and also make the device easier to use when in a pocket or clipped to an armband or waist during a workout.

While the display is inactive, the patent describes that it could use gestures that mirror the button press actions on current iPod and iPhone headphone remotes. So, a single click could play/pause, a double click could skip tracks, and a long press could call up Siri, for instance.

In terms of recognizing when touch is and is not wanted, the patent suggests implementing a special mode that would allow it to both keep the screen dark but also receive touch inputs. This might involve a way to activate a mode between a full lock and a completely on and active device, which can be selected specifically for when a user is commuting or using the device while working out, but disabled when there’s risk of accidental touch.

It’s an interesting patent, and one which Apple has shown off as working with its previous iPod nano design, which essentially featured a square display and little else in terms of physical buttons. The trick might be making this work in such a way that it still completely eliminates any chance of accidental input – the lock screen concept is synonymous with touchscreen devices for a reason, after all.

Not activating the screen as much as possible is the key to prolonging device battery life, though, so it’s good to see Apple looking at ways to deal with that primary limiting factor. It’s no e-ink display built into the back of a smartphone, but it’s something.

Topics

, , , ,
Loading the next article
Error loading the next article