Apple has been granted a new patent related to camera tech by the USPTO today (via AppleInsider), which uses three different sensors and three different lenses to improve color-capture accuracy and image resolution for photos shot with an iPhone or other mobile device. The system is similar to the two-sensor Apple patent around mobile cameras the company applied for recently, but it solves a different kind of imaging problem.
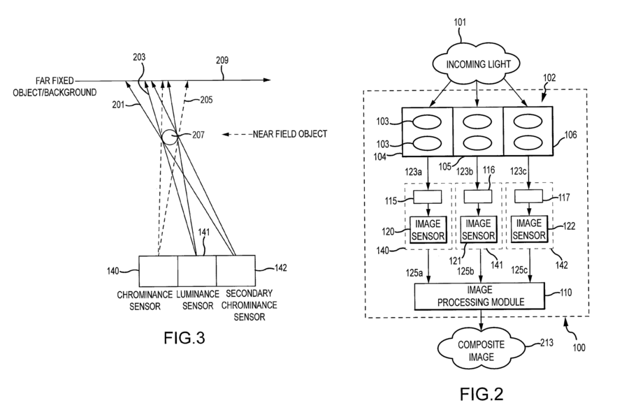
This sensor arrangement would improve upon most mobile camera designs by using two chorminance sensors, each of which is placed to one side of a luminance sensor. The luminance or light sensor would determine light levels of the image, while the chrominance sensors would be responsible for accurately capturing color data. Two chrominance sensors arranged in that manner would be able to compensate for blind spots in each other’s field of view, ensuring accurate color rendering for all scenes.
If color info is missing from any part of the scene, as can happen with traditional combined sensor arrangements, then overall photo resolution suffers, too, because of a lack of data, so this would improve not only color rendering but overall image quality. And the information drawn from the two chrominance sensors would also be useful in automatically correcting for distortion caused by the camera lens.
Last week, as mentioned, Apple patented dual-sensor imaging for iPhones, that would automatically combine two separate images to correct for flaws in either. Combined with this sensor design, it begins to be apparent that Apple is doing lots of work on the imaging side of its mobile offerings. The iPhone has long been held up as an example of the best camera in smartphones, but competitors are starting to focus innovation on their own camera designs, the Lumia 1020 being probably the most recent memorable example.
Apple probably doesn’t have much to fear from Windows Phone devices, feature rich as they may be, but a significant camera improvement is a good way to attract customers with something new. Don’t expect changes like these to iPhone cameras coming in the next update this fall, but definitely consider this an area to watch over the next few years.
