Apple Exploring iPhone-Stored Car And Home Preference Profiles To Configure Seats, Climate And More

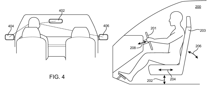
Apple is exploring more in-car abilities for its mobile devices, according to a new patent filing published by the USPTO today (via AppleInsider). The patent application describes a system where a user could store their configuration profiles for seat, steering wheel and mirror position on their devices, as well as things like climate control options for instant customization when getting into a car. The system could also be used for home, with a user getting lighting, television and other things turned to just the right setting when they walk through the door.

Top-end cars already offer user profiles that can be used to set seating and other options automatically depending on who’s doing the driving, but then again, car manufacturers also already offer in-vehicle entertainment and information systems, and Apple is planning to try to reinvent that market with iOS in the Car, a new feature coming to iOS 7 that’s essentially AirPlay Mirroring for your dashboard.

In both cases, the inspiration is to take something maybe already exists, but to package it in a way that makes more sense and appeals to a broader user base. Apple has done basically this for each of its successful innovations in the past, so it’s not a surprising strategy, but it is a smart one.

The system described in the patent would not only automate the process through device-to-car communication, but it sounds like it would have a portability element, too; your iPhone could relay your settings to a car from any participating manufacturer, and would be able to calculate differences in geometry to adapt your preferred cockpit configuration to different vehicles. That’s ideal for travellers, car-sharers and others who find themselves in a lot of different vehicles from each day to the next. Likewise, with home configuration, it sounds like the idea is that you could bring your home preferences to a hotel room and vice versa.

Apple building an ecosystem around a user’s car and home makes a lot of sense as an extension of its existing success. While many have been watching for it to innovate in the TV space as the next step in such a strategy, it has been quietly building up more improvements on the automotive side, and this looks like a continuation of that strategy. It would require significant buy-in from car and home system manufacturers, but those are likely easier targets than the rights-paranoid movie and TV show studios.

Topics

, , , ,
Loading the next article
Error loading the next article