Apple Seeks Patent For Skype-Style Away Status For Phone Calls, But Set Automatically

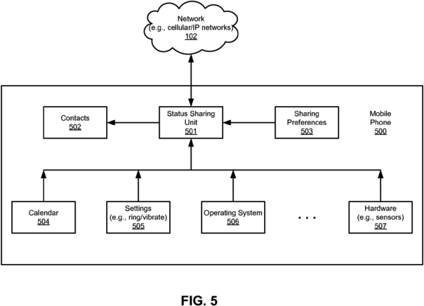
In a new patent filing published by the USPTO today (via AppleInsider), Apple describes a system for setting essentially an “Away/Available/Busy” style status for receiving phone calls on a smartphone device, but one that updates said status intelligently and automatically using data gathered about the device and its settings.

So the basic premise is this: Just like you can on Skype and most IM services, you’d be able to display a status to contacts that would indicate whether you’re available to field a call or not, which could avoid embarrassing moments like having your phone either ring or buzz loudly while in a meeting.

The system would take into account user preferences, determining what information it can share as set by a user, and filter inbound calls against a phone’s contact list to help preserve privacy before sharing any information. But then it could do things like send the inbound caller information about whether the user has the ringer turned on or set to vibrate, their current location, the strength of their current signal and their device’s remaining battery life.

small (18)The patent isn’t so much about letting a user set their own universal status for all inbound calls (which seems quite useful), but instead about letting them set and forget preferences around just how much they’re willing to share and with who, and letting the automated system do the rest.

This is one of a number of patents that Apple has filed detailing changes to the essential phone operations of a smartphone device, which would change the calling experience in a significant way. Combined with iMessage, you could see how Apple could further modify basic in and outbound communication experiences with inventions like these.

On the other hand, allowing your phone to automatically send out information about you would be a big pill to swallow for most in terms of privacy concerns. Apple could introduce this system, but it would be far more useful to invent a system that essentially just allows a user to set a status instant messenger style to automatically be displayed in the Contacts app of other users.

Topics

, , , ,
Loading the next article
Error loading the next article