Apple Explores Bayonet Mounts For Swappable iPhone Camera Lenses

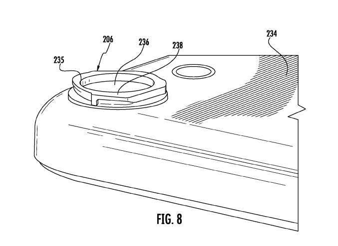
Apple has been granted a patent by the USPTO (spotted by AppleInsider) for interchangeable lenses for a mobile device, meaning it’s possible future iPhones will have the built-in ability to swap out one lens, say a macro for close-ups, for another, like a wide-angle for sweeping landscapes. The patent first turned up as an application a few weeks ago, but Apple has already been granted rights to the IP.

That could mean nothing, as Apple frequently patents tech it doesn’t necessarily use right away in products. But it could also mean a lot; recent supposed leaked photos from inside Foxconn show an iPhone with a raised camera protruding slightly from the back of the device, and the drawings from the patent also show such a design. Of course, the provenance of those images is still sketchy at best, and there are other reasons for a raised camera (devices thickness) so it’s far too early to read anything into that.

Apple building an interchangeable lens system native to iPhone would be in keeping with its dedication to having the best camera available in mobile devices. Systems already exist from third-parties, but most of these are clip-ons, and the bayonet system borrowed from DSLRs and mirrorless cameras would make for more convenience, more security and better image quality using the lenses you can swap in and out, all of which Apple cites as benefits in the patent itself.

As a huge fan of interchangeable lens cameras, I’m excited by the idea of seeing these built into mobile devices. So long as they can build it in such a way that it doesn’t impede the design or function of the device without a lens attached, it would be a great way to amp up the photographic chops of our portable gadgets while keeping kit loads a lot lighter. If I could just carry a telephoto zoom and a small macro as well as my smartphone, instead of a massive bag with DSLR gear that weighs about 50 lbs, I’d consider that very much worth my while.

Topics

, , , , , ,
Loading the next article
Error loading the next article