Apple Patents Wraparound Edge-Mounted iPhone Displays With Virtual Buttons

Apple has a new patent granted today (spotted by AppleInsider) for a side-mounted wraparound display that could be used to add virtual buttons to the edges of future iPhones in place of physical controls. The display would run the circumference of the device, and offer up virtual versions of current physical controls, including volume up/down, but it would also make it possible for Apple to show a number of other controls and information away from the main screen.

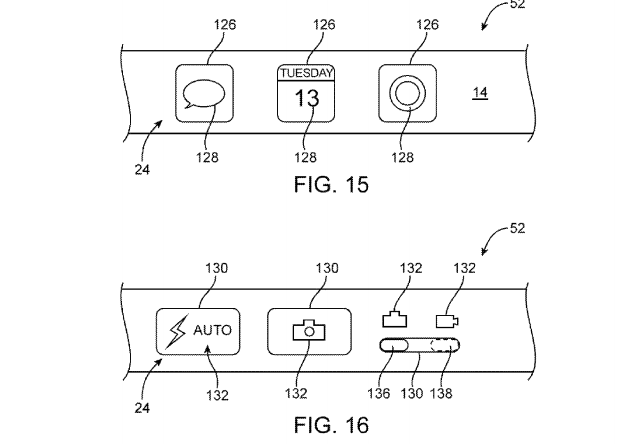
Some examples of what could appear on the side display include a slide unlock controller, or some app icons from the home screen or dock. Other options include music playback controls, and both caller ID and message summaries. In specific apps, like the calculator, additional functions may appear on the sides of the device, like the extended formula set for scientific calculator mode.

Screen Shot 2014-05-13 at 7.12.09 AM

This could open up a lot more flexibility in terms of what buttons control what aspect of the OS, without adding more hardware switches. For instance, the patent describes adding a dedicated camera button, complete with controls for switching flash modes, and going from still to movie capture. These could also clear up room on the main display’s interface, giving you an uneclipsed viewfinder in the camera app, for instance.

The display would be built with flexible components, including possibly an OLED panel, and could also include tech to help make offer dynamic tactile feedback for virtual keys possible. This would potentially address the main downfall of soft keys not being great for use in situations like quickly silencing your phone while it’s in your pocket.

Topics

, , , , ,
Loading the next article
Error loading the next article