Apple Patents Earbuds With Noise-Canceling Sensor Smarts

Apple continues looking at ways to improve its earbuds — including potentially ditching the iconic white cables which had such a starring role in iTunes ads, back in the day.

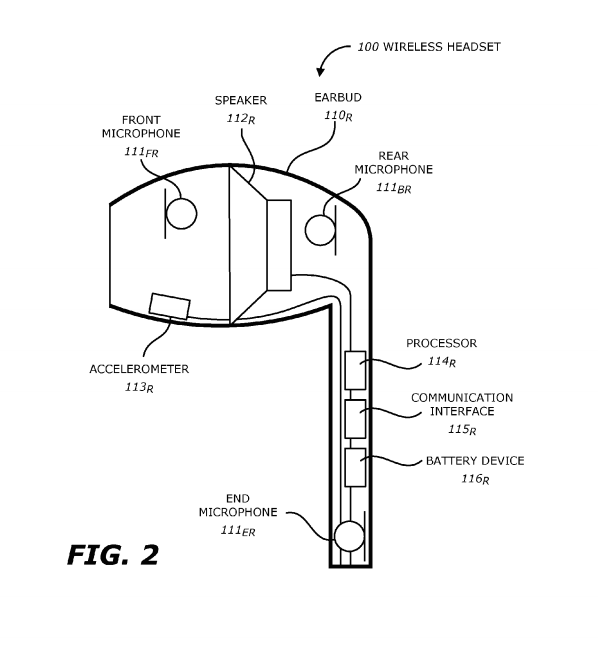
According a patent filed in February last year but published this week and spotted by AppleInsider, Cupertino is looking at making wireless earbuds that also incorporate bone-conduction technology in order to improve voice communications. The patent also describes deploying a range of other sensors — such as internal microphones and accelerometers — to better detect external noise to boost noise-canceling capabilities and enhance the in-ear audio experience.

The patent application, entitled “System and method of improving voice quality in a wireless headset with untethered earbuds of a mobile device,” details various configurations of in-earbud sensors for enhancing noise-canceling technology.

Inertial sensors are used to detect vibrations in the user’s vocal chords, via the vibrations of the bones and tissues of their head, while internal microphones and processors detect wind levels and external noise. The multi-sensor configurations then utilize a combination of these wind/noise and voice signals to determine how to tweak audio levels to improve overall audio quality.

It’s not the first earbud-related bone conduction patent from Apple. The company filed a very similar patent back in March 2013 (which we covered last year) — albeit it’s yet to bring an implementation of the technology to the earbuds it ships with iOS devices.

Apple frequently files patents relating to earbuds, including another sensor-packed variant last year for power-efficient noise canceling; a variant with beamforming mics that can redirect towards the source of a user’s voice; earbuds with built-in activity, health and fitness trackers; and a set of earbuds that can automatically detect when it’s being shared by two users and switch between stereo and mono sounds to allow two users to hear two different audio streams.

Given its business’ continued core focus on music, including the $3 billion acquisition of the Beats brand last year, it’s hardly surprising Apple is a little obsessive about seeking out new ways to tweak its primary audio delivery mechanism (aka its EarPods).

Techcrunch event

Join 10k+ tech and VC leaders for growth and connections at Disrupt 2025

Netflix, Box, a16z, ElevenLabs, Wayve, Hugging Face, Elad Gil, Vinod Khosla — just some of the 250+ heavy hitters leading 200+ sessions designed to deliver the insights that fuel startup growth and sharpen your edge. Don’t miss the 20th anniversary of TechCrunch, and a chance to learn from the top voices in tech. Grab your ticket before doors open to save up to $444.

Join 10k+ tech and VC leaders for growth and connections at Disrupt 2025

Netflix, Box, a16z, ElevenLabs, Wayve, Hugging Face, Elad Gil, Vinod Khosla — just some of the 250+ heavy hitters leading 200+ sessions designed to deliver the insights that fuel startup growth and sharpen your edge. Don’t miss a chance to learn from the top voices in tech. Grab your ticket before doors open to save up to $444.

San Francisco | October 27-29, 2025

What’s perhaps more surprising is how (relatively) little the earbuds Apple ships with its mobile devices have changed over the years, despite all its inventive whiteboarding. But given how many earbud patents are floating around now it surely can’t be long before some of these sensor-based smarts find their way into iOS users’ ears.

Topics

, , , ,
Loading the next article
Error loading the next article