The New Google Glass Could Look Like A Monocle 🕵

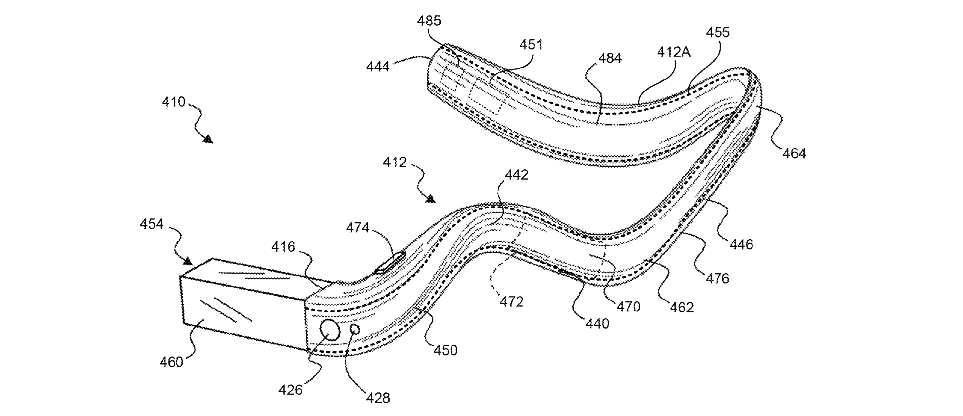
Get ready for the Google Monocle. The U.S. Patent and Trademark Office has granted a new patent to Google for a potential upcoming version of Google Glass. The best way to put it is that it doesn’t look like a pair of glasses anymore — it’s a glorious monocle that wraps around your head.

Here’s an abstract from the patent:

The band is adjustable such that it can be configured by a user to contact the head of the user at a first location near a temple, a second location along a portion of the user’s ear adjacent the temple, and at a third location along a rear position of the head of the user.

Once you configure it, Glass should retain its configuration. The question is whether this will be enough to revive interest for this device.

As a reminder, Google halted sales of Glass back in January. The company later said that it needed to “pause” and “reset” development of the device.

In March, we reported that Google was looking for new areas of opportunity for Glass. In particular, Google could sell Glass to enterprise customers.

But the company has been mostly silent since then. It’s unclear whether Google is still working on software and hardware improvements. But it looks like today’s new patent proves that Google hasn’t given up just yet.

Techcrunch event

Join 10k+ tech and VC leaders for growth and connections at Disrupt 2025

Netflix, Box, a16z, ElevenLabs, Wayve, Hugging Face, Elad Gil, Vinod Khosla — just some of the 250+ heavy hitters leading 200+ sessions designed to deliver the insights that fuel startup growth and sharpen your edge. Don’t miss the 20th anniversary of TechCrunch, and a chance to learn from the top voices in tech. Grab your ticket before doors open to save up to $444.

Join 10k+ tech and VC leaders for growth and connections at Disrupt 2025

Netflix, Box, a16z, ElevenLabs, Wayve, Hugging Face, Elad Gil, Vinod Khosla — just some of the 250+ heavy hitters leading 200+ sessions designed to deliver the insights that fuel startup growth and sharpen your edge. Don’t miss a chance to learn from the top voices in tech. Grab your ticket before doors open to save up to $444.

San Francisco | October 27-29, 2025

Screen Shot 2015-11-27 at 13.46.38

Via The Next Web

Topics

, , ,
Loading the next article
Error loading the next article