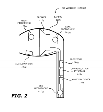
noise canceling